Columbia, SC
|
Give Us a Call
(803) 750-7050
|
EST. 1976
|
Toggle navigation
Home
Brands
Manufacturer Models
OEM Promotions
Can-Am
Sea-Doo
CFMoto
SSR Motorsports
Yamaha
Kawasaki
Suzuki
Inventory
All Inventory In Stock
New Inventory In Stock
Pre-Owned Inventory
SxS
ATVs
PTVs
Motorcycles
3-Wheel
Personal Watercraft
Scooters
Pontoons
Value Your Trade-In
Request a Model
Secure Financing
Featured Specials
Parts
Parts Department
Parts Finder
Service
Service Department
Warranty & Recall Look-Up
Shop
Parts Finder
Shopping Cart
Financing
About
Our Dealership
Employment
Reviews
Customer Survey
Location & Hours
Contact
Fiche | Parts Diagrams
Home
›
Parts
›
Parts Finder
Search by :
Part / Desc
VIN
Please Select
Can-Am
CFMOTO
Kawasaki
Sea-Doo
Suzuki
Yamaha
*Please enter at least 3 characters
SEARCH
Manufacturer
Can-Am
ATVs
2007
DS 250, CE
VIEW WISH LIST
Select a Section
Show/Hide
00- Model Numbers
01- Air Injection System
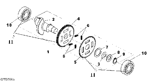
01- Balance Shaft
01- Breather And Timing Chain
01- Cooling System
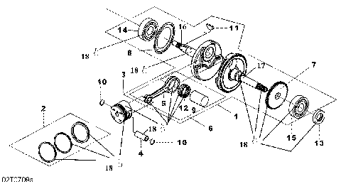
01- Crankshaft And Pistons
01- Cylinder
01- Cylinder Head and Valve
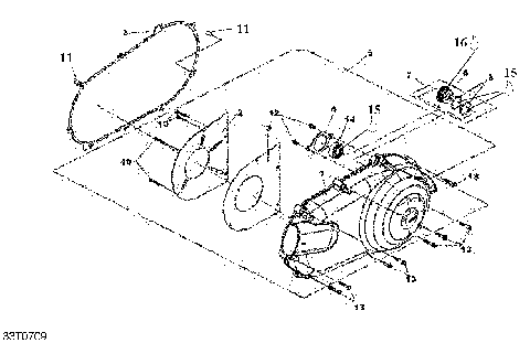
01- Engine
01- Exhaust System
01- Gear Box
01- Left Crankcase Half
01- Right Crankcase Half
01- Valve Cover
02- Air Intake Silencer
02- Carburetor
02- Fuel System
02- Oil Pump
03- Magneto
03- Magneto Cover and Water Pump
05- CVT Cover
05- Drive Pulley
05- Driven Pulley
05- Gear Shift
06- Brakes Front
06- Brakes Rear
07- Front Suspension
07- Handlebar
07- Shocks
07- Steering Linkage
07- Wheels And Tires
08- Drive Shaft
08- Rear Swing Arm
09- Frame, System
09- Front Bumper And Footrests
09- Front Fender
09- Hitch
09- Mirrors And Tools
09- Rear Fender
09- Rear Frame
09- Seat
09- Steering Cover And Accessories
10- Electrical Components
10- Flasher Lights
10- Headlights
00- Model Numbers
01- Air Injection System
01- Balance Shaft
01- Breather And Timing Chain
01- Cooling System
01- Crankshaft And Pistons
01- Cylinder
01- Cylinder Head and Valve
01- Engine
01- Exhaust System
01- Gear Box
01- Left Crankcase Half
01- Right Crankcase Half
01- Valve Cover
02- Air Intake Silencer
02- Carburetor
02- Fuel System
02- Oil Pump
03- Magneto
03- Magneto Cover and Water Pump
05- CVT Cover
05- Drive Pulley
05- Driven Pulley
05- Gear Shift
06- Brakes Front
06- Brakes Rear
07- Front Suspension
07- Handlebar
07- Shocks
07- Steering Linkage
07- Wheels And Tires
08- Drive Shaft
08- Rear Swing Arm
09- Frame, System
09- Front Bumper And Footrests
09- Front Fender
09- Hitch
09- Mirrors And Tools
09- Rear Fender
09- Rear Frame
09- Seat
09- Steering Cover And Accessories
10- Electrical Components
10- Flasher Lights
10- Headlights
VIEW WISH LIST