Columbia, SC
|
Give Us a Call
(803) 750-7050
|
EST. 1976
|
Toggle navigation
Home
Brands
Manufacturer Models
OEM Promotions
Can-Am
Sea-Doo
CFMoto
SSR Motorsports
Yamaha
Kawasaki
Suzuki
Inventory
All Inventory In Stock
New Inventory In Stock
Pre-Owned Inventory
SxS
ATVs
PTVs
Motorcycles
3-Wheel
Personal Watercraft
Scooters
Pontoons
Value Your Trade-In
Request a Model
Secure Financing
Featured Specials
Parts
Parts Department
Parts Finder
Service
Service Department
Warranty & Recall Look-Up
Shop
Parts Finder
Shopping Cart
Financing
About
Our Dealership
Employment
Reviews
Customer Survey
Location & Hours
Contact
Fiche | Parts Diagrams
Home
›
Parts
›
Parts Finder
Search by :
Part / Desc
VIN
Please Select
Can-Am
CFMOTO
Kawasaki
Sea-Doo
Suzuki
Yamaha
*Please enter at least 3 characters
SEARCH
Manufacturer
Can-Am
Utility Vehicles
2020
008 - Defender MAX HD10 - XMR - North America
VIEW WISH LIST
Select a Section
Show/Hide
00- Model Numbers
01- Cooling - System
01- Engine - Air Intake Manifold And Throttle Body
01- Engine - Cooling
01- Engine - Crankcase - HD10
01- Engine - Crankshaft, Piston And Cylinder - HD10
01- Engine - Cylinder Head, Front - HD10
01- Engine - Cylinder Head, Rear - HD10
01- Engine - Drive Shaft - HD10
01- Engine - Lubrication - HD10
01- Engine - Transmission - HD10 - XMR
01- Engine - Vehicule
01- Exhaust
02- Engine - Air Intake
02- Engine - Fuel
05- Gear Box 1
05- Gear Box 2 - 796
05- Gear Box And Components - 796
06- Brakes - XMR
07- Drive - Wheels - XMR
07- Front Drive - Common Parts - XMR
07- Front Drive - Differential Parts - XMR
07- Shocks
07- Steering
07- Suspension, Front - System
08- Rear Drive
08- Suspension, Rear
09- Body - Air Intake - XMR
09- Body - Camo - XMR
09- Body - Skid Plates - XMR
09- Cab Interior - Back Wall
09- Cab Interior - Dashboard
09- Cab Interior - Door Safety Net
09- Cab Interior - Fire Wall
09- Decals - XMR
09- Frame
09- Rear Cargo Box - XMR
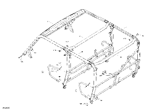
09- Safety Cage - XMR
09- Seat - Front Section - XMR
09- Seat - Rear Section - XMR
09- Storage Tray
10- Electric - Engine Harness And Electronic Module - HD10
10- Electric - Magneto And Starter
10- Electric - System - Front Section
10- Electric - System - Rear Section
10- Main Harness - 710006751
00- Model Numbers
01- Cooling - System
01- Engine - Air Intake Manifold And Throttle Body
01- Engine - Cooling
01- Engine - Crankcase - HD10
01- Engine - Crankshaft, Piston And Cylinder - HD10
01- Engine - Cylinder Head, Front - HD10
01- Engine - Cylinder Head, Rear - HD10
01- Engine - Drive Shaft - HD10
01- Engine - Lubrication - HD10
01- Engine - Transmission - HD10 - XMR
01- Engine - Vehicule
01- Exhaust
02- Engine - Air Intake
02- Engine - Fuel
05- Gear Box 1
05- Gear Box 2 - 796
05- Gear Box And Components - 796
06- Brakes - XMR
07- Drive - Wheels - XMR
07- Front Drive - Common Parts - XMR
07- Front Drive - Differential Parts - XMR
07- Shocks
07- Steering
07- Suspension, Front - System
08- Rear Drive
08- Suspension, Rear
09- Body - Air Intake - XMR
09- Body - Camo - XMR
09- Body - Skid Plates - XMR
09- Cab Interior - Back Wall
09- Cab Interior - Dashboard
09- Cab Interior - Door Safety Net
09- Cab Interior - Fire Wall
09- Decals - XMR
09- Frame
09- Rear Cargo Box - XMR
09- Safety Cage - XMR
09- Seat - Front Section - XMR
09- Seat - Rear Section - XMR
09- Storage Tray
10- Electric - Engine Harness And Electronic Module - HD10
10- Electric - Magneto And Starter
10- Electric - System - Front Section
10- Electric - System - Rear Section
10- Main Harness - 710006751
VIEW WISH LIST