Columbia, SC
|
Give Us a Call
(803) 750-7050
|
EST. 1976
|
Toggle navigation
Home
Brands
Manufacturer Models
OEM Promotions
Can-Am
Sea-Doo
CFMoto
SSR Motorsports
Yamaha
Kawasaki
Suzuki
Inventory
All Inventory In Stock
New Inventory In Stock
Pre-Owned Inventory
SxS
ATVs
PTVs
Motorcycles
3-Wheel
Personal Watercraft
Scooters
Pontoons
Value Your Trade-In
Request a Model
Secure Financing
Featured Specials
Parts
Parts Department
Parts Finder
Service
Service Department
Warranty & Recall Look-Up
Shop
Parts Finder
Shopping Cart
Financing
About
Our Dealership
Employment
Reviews
Customer Survey
Location & Hours
Contact
Fiche | Parts Diagrams
Home
›
Parts
›
Parts Finder
Search by :
Part / Desc
VIN
Please Select
Can-Am
CFMOTO
Kawasaki
Sea-Doo
Suzuki
Yamaha
*Please enter at least 3 characters
SEARCH
Manufacturer
Kawasaki
ATVs
2008
Prairie 360 4X4 Hardwoods Green HD (KVF360C8F)
VIEW WISH LIST
Select a Section
Show/Hide
Air Cleaner
Brake Pedal
Cables
Camshaft(s)/Tensioner
Carburetor
Carrier(s)
Chassis Electrical Equipment
Control
Converter Cover
Crankcase
Crankshaft
Cylinder Head
Cylinder/Piston(s)
Decals(C7F-C9F)
Drive Converter
Drive Shaft-Front
Drive Shaft-Propeller
Drive Shaft-Rear
Driven Converter/Drive Belt
Engine Cover(s)
Engine Mount
Footrests
Frame
Frame Fittings
Front Bevel Gear
Front Brake
Front Fender(s)
Front Hub
Front Master Cylinder
Fuel Tank
Gear Change Mechanism
Generator
Guard(s)
Handlebar
Headlight(s)
Ignition Switch
Ignition System
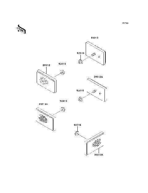
Labels
Meter(s)(CN)
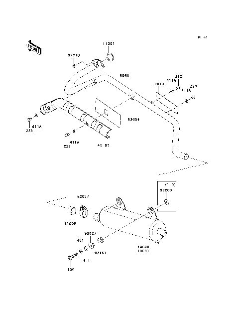
Muffler(s)
Oil Cooler
Oil Pump/Oil Filter
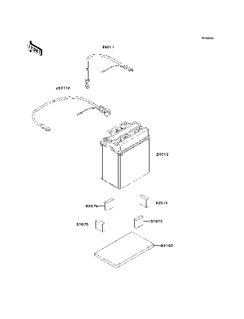
Optional Parts(Battery)(CN)
Optional Parts(Converter)
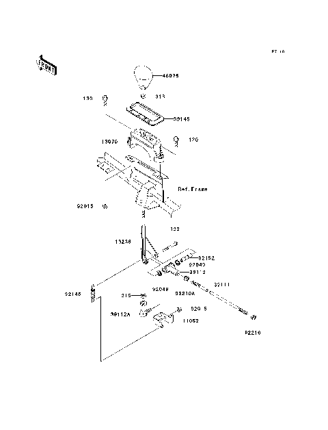
Optional Parts(Meter)(US)
Owner's Tools
Rear Fender(s)
Rear Hub
Recoil Starter(-VF360AE607660)
Reflectors(CN)
Seat
Shock Absorber(s)
Side Covers
Starter Motor(C6F-C8F)
Suspension
Swingarm
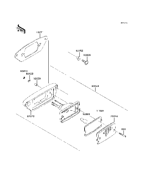
Taillight(s)
Transmission
Valve(s)
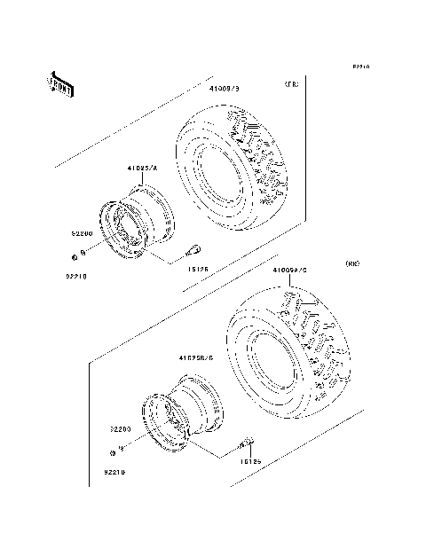
Wheels/Tires
Air Cleaner
Brake Pedal
Cables
Camshaft(s)/Tensioner
Carburetor
Carrier(s)
Chassis Electrical Equipment
Control
Converter Cover
Crankcase
Crankshaft
Cylinder Head
Cylinder/Piston(s)
Decals(C7F-C9F)
Drive Converter
Drive Shaft-Front
Drive Shaft-Propeller
Drive Shaft-Rear
Driven Converter/Drive Belt
Engine Cover(s)
Engine Mount
Footrests
Frame
Frame Fittings
Front Bevel Gear
Front Brake
Front Fender(s)
Front Hub
Front Master Cylinder
Fuel Tank
Gear Change Mechanism
Generator
Guard(s)
Handlebar
Headlight(s)
Ignition Switch
Ignition System
Labels
Meter(s)(CN)
Muffler(s)
Oil Cooler
Oil Pump/Oil Filter
Optional Parts(Battery)(CN)
Optional Parts(Converter)
Optional Parts(Meter)(US)
Owner's Tools
Rear Fender(s)
Rear Hub
Recoil Starter(-VF360AE607660)
Reflectors(CN)
Seat
Shock Absorber(s)
Side Covers
Starter Motor(C6F-C8F)
Suspension
Swingarm
Taillight(s)
Transmission
Valve(s)
Wheels/Tires
VIEW WISH LIST