Columbia, SC
|
Give Us a Call
(803) 750-7050
|
EST. 1976
|
Toggle navigation
Home
Brands
Manufacturer Models
OEM Promotions
Can-Am
Sea-Doo
CFMoto
SSR Motorsports
Yamaha
Kawasaki
Suzuki
Inventory
All Inventory In Stock
New Inventory In Stock
Pre-Owned Inventory
SxS
ATVs
PTVs
Motorcycles
3-Wheel
Personal Watercraft
Scooters
Pontoons
Value Your Trade-In
Request a Model
Secure Financing
Featured Specials
Parts
Parts Department
Parts Finder
Service
Service Department
Warranty & Recall Look-Up
Shop
Parts Finder
Shopping Cart
Financing
About
Our Dealership
Employment
Reviews
Customer Survey
Location & Hours
Contact
Fiche | Parts Diagrams
Home
›
Parts
›
Parts Finder
Search by :
Part / Desc
VIN
Please Select
Can-Am
CFMOTO
Kawasaki
Sea-Doo
Suzuki
Yamaha
*Please enter at least 3 characters
SEARCH
Manufacturer
Kawasaki
ATVs
2009
Brute Force® 750 4x4i (KVF750D9F)
VIEW WISH LIST
Select a Section
Show/Hide
Air Cleaner
Brake Pedal
Cables
Camshaft(s)/Tensioner
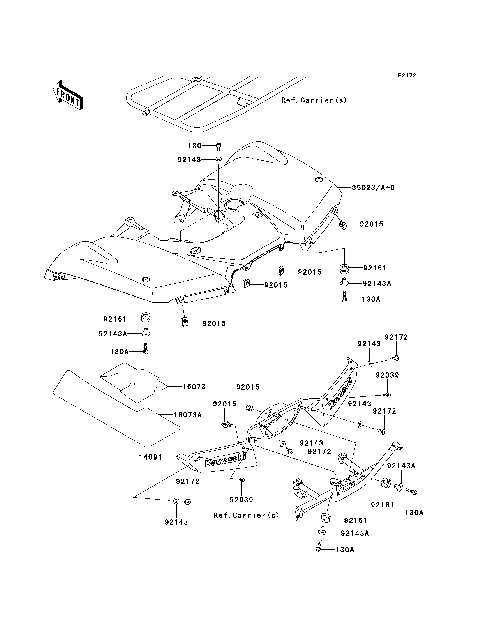
Carrier(s)(D8F/D9F)
Chassis Electrical Equipment
Control
Converter Cover
Crankcase
Crankshaft
Cylinder Head
Cylinder/Piston(s)
Decals(Black)(D9F)
Decals(D.R.Red)(D9F)
Decals(L.Green)(D9F)
Decals(S.Red)(D9F)
Decals(W.Green)(D9F)
Drive Converter
Drive Shaft-Front
Drive Shaft-Propeller
Drive Shaft-Rear
Driven Converter/Drive Belt
Engine Cover(s)
Engine Mount
Flap
Footrests
Frame
Frame Fittings
Front Bevel Gear
Front Brake
Front Fender(s)
Front Hub
Front Master Cylinder
Front Suspension
Fuel Injection
Fuel Pump
Fuel Tank
Gear Change Mechanism
Generator
Guard(s)
Handlebar
Headlight(s)
Ignition Switch
Ignition System
Labels
Meter(s)
Muffler(s)
Oil Pump/Oil Filter
Optional Parts(D8F/D9F)
Owner's Tools
Radiator
Rear Fender(s)
Rear Hub
Rear Suspension
Recoil Starter
Reflectors(CN)
Seat
Shock Absorber(s)
Side Covers
Starter Motor
Taillight(s)
Throttle
Transmission
Valve(s)
Wheels/Tires(D9F-DBF)
Air Cleaner
Brake Pedal
Cables
Camshaft(s)/Tensioner
Carrier(s)(D8F/D9F)
Chassis Electrical Equipment
Control
Converter Cover
Crankcase
Crankshaft
Cylinder Head
Cylinder/Piston(s)
Decals(Black)(D9F)
Decals(D.R.Red)(D9F)
Decals(L.Green)(D9F)
Decals(S.Red)(D9F)
Decals(W.Green)(D9F)
Drive Converter
Drive Shaft-Front
Drive Shaft-Propeller
Drive Shaft-Rear
Driven Converter/Drive Belt
Engine Cover(s)
Engine Mount
Flap
Footrests
Frame
Frame Fittings
Front Bevel Gear
Front Brake
Front Fender(s)
Front Hub
Front Master Cylinder
Front Suspension
Fuel Injection
Fuel Pump
Fuel Tank
Gear Change Mechanism
Generator
Guard(s)
Handlebar
Headlight(s)
Ignition Switch
Ignition System
Labels
Meter(s)
Muffler(s)
Oil Pump/Oil Filter
Optional Parts(D8F/D9F)
Owner's Tools
Radiator
Rear Fender(s)
Rear Hub
Rear Suspension
Recoil Starter
Reflectors(CN)
Seat
Shock Absorber(s)
Side Covers
Starter Motor
Taillight(s)
Throttle
Transmission
Valve(s)
Wheels/Tires(D9F-DBF)
VIEW WISH LIST