Columbia, SC
|
Give Us a Call
(803) 750-7050
|
EST. 1976
|
Toggle navigation
Home
Brands
Manufacturer Models
OEM Promotions
Can-Am
Sea-Doo
CFMoto
SSR Motorsports
Yamaha
Kawasaki
Suzuki
Inventory
All Inventory In Stock
New Inventory In Stock
Pre-Owned Inventory
SxS
ATVs
PTVs
Motorcycles
3-Wheel
Personal Watercraft
Scooters
Pontoons
Value Your Trade-In
Request a Model
Secure Financing
Featured Specials
Parts
Parts Department
Parts Finder
Service
Service Department
Warranty & Recall Look-Up
Shop
Parts Finder
Shopping Cart
Financing
About
Our Dealership
Employment
Reviews
Customer Survey
Location & Hours
Contact
Fiche | Parts Diagrams
Home
›
Parts
›
Parts Finder
Search by :
Part / Desc
VIN
Please Select
Can-Am
CFMOTO
Kawasaki
Sea-Doo
Suzuki
Yamaha
*Please enter at least 3 characters
SEARCH
Manufacturer
Kawasaki
ATVs
2013
BRUTE FORCE® 750 4x4i EPS (KVF750HDF)
VIEW WISH LIST
Select a Section
Show/Hide
Air Cleaner
Brake Pedal
Cables
Camshaft(s)/Tensioner
Carrier(s)
Chassis Electrical Equipment
Control
Converter Cover
Crankcase
Crankshaft
Cylinder Head(-VF750DE095936)
Cylinder Head(VF750DE095937-)
Cylinder/Piston(s)
Decals(HCF-HDF)
Drive Converter(VF750DE082074-)
Drive Shaft-Front
Drive Shaft-Propeller
Drive Shaft-Rear
Driven Converter/Drive Belt
Engine Cover(s)
Engine Mount
Flap
Footrests
Frame
Frame Fittings
Front Bevel Gear
Front Brake
Front Fender(s)
Front Hub
Front Master Cylinder
Front Suspension
Fuel Injection
Fuel Pump(HDF/HEF)
Fuel Tank
Gear Change Mechanism
Generator
Guard(s)
Handlebar
Headlight(s)
Ignition Switch
Ignition System
Labels
Meter(s)
Muffler(s)
Oil Pump/Oil Filter
Optional Parts
Owner's Tools
Radiator
Rear Fender(s)
Rear Hub
Rear Suspension
Reflectors(CN)
Seat
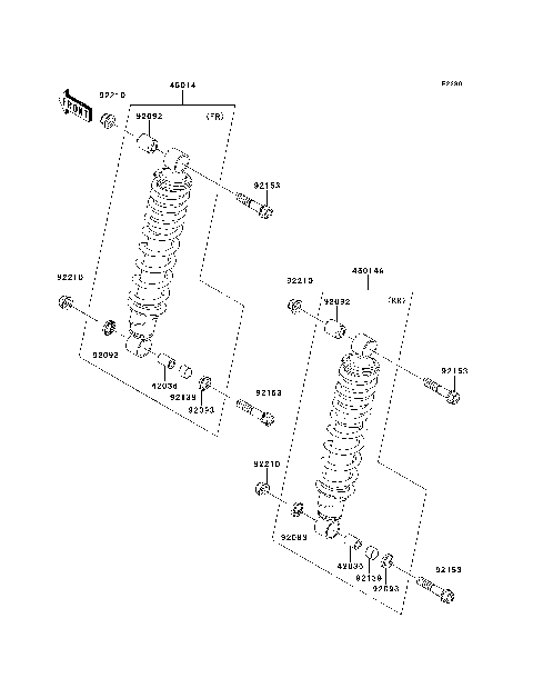
Shock Absorber(s)
Side Covers
Starter Motor
Steering Shaft
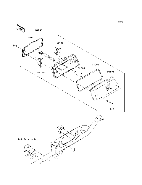
Taillight(s)
Throttle
Transmission
Valve(s)
Wheels/Tires
Air Cleaner
Brake Pedal
Cables
Camshaft(s)/Tensioner
Carrier(s)
Chassis Electrical Equipment
Control
Converter Cover
Crankcase
Crankshaft
Cylinder Head(-VF750DE095936)
Cylinder Head(VF750DE095937-)
Cylinder/Piston(s)
Decals(HCF-HDF)
Drive Converter(VF750DE082074-)
Drive Shaft-Front
Drive Shaft-Propeller
Drive Shaft-Rear
Driven Converter/Drive Belt
Engine Cover(s)
Engine Mount
Flap
Footrests
Frame
Frame Fittings
Front Bevel Gear
Front Brake
Front Fender(s)
Front Hub
Front Master Cylinder
Front Suspension
Fuel Injection
Fuel Pump(HDF/HEF)
Fuel Tank
Gear Change Mechanism
Generator
Guard(s)
Handlebar
Headlight(s)
Ignition Switch
Ignition System
Labels
Meter(s)
Muffler(s)
Oil Pump/Oil Filter
Optional Parts
Owner's Tools
Radiator
Rear Fender(s)
Rear Hub
Rear Suspension
Reflectors(CN)
Seat
Shock Absorber(s)
Side Covers
Starter Motor
Steering Shaft
Taillight(s)
Throttle
Transmission
Valve(s)
Wheels/Tires
VIEW WISH LIST