Columbia, SC
|
Give Us a Call
(803) 750-7050
|
EST. 1976
|
Toggle navigation
Home
Brands
Manufacturer Models
OEM Promotions
Can-Am
Sea-Doo
CFMoto
SSR Motorsports
Yamaha
Kawasaki
Suzuki
Inventory
All Inventory In Stock
New Inventory In Stock
Pre-Owned Inventory
SxS
ATVs
PTVs
Motorcycles
3-Wheel
Personal Watercraft
Scooters
Pontoons
Value Your Trade-In
Request a Model
Secure Financing
Featured Specials
Parts
Parts Department
Parts Finder
Service
Service Department
Warranty & Recall Look-Up
Shop
Parts Finder
Shopping Cart
Financing
About
Our Dealership
Employment
Reviews
Customer Survey
Location & Hours
Contact
Fiche | Parts Diagrams
Home
›
Parts
›
Parts Finder
Search by :
Part / Desc
VIN
Please Select
Can-Am
CFMOTO
Kawasaki
Sea-Doo
Suzuki
Yamaha
*Please enter at least 3 characters
SEARCH
Manufacturer
Kawasaki
Motorcycles
2018
KLX®110L (KLX110DJF)
VIEW WISH LIST
Select a Section
Show/Hide
Accessory
Air Cleaner
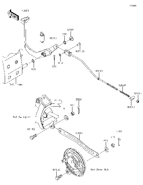
Brake Pedal
Cables
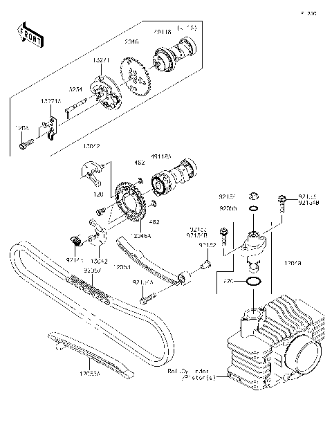
Camshaft(s)/Tensioner
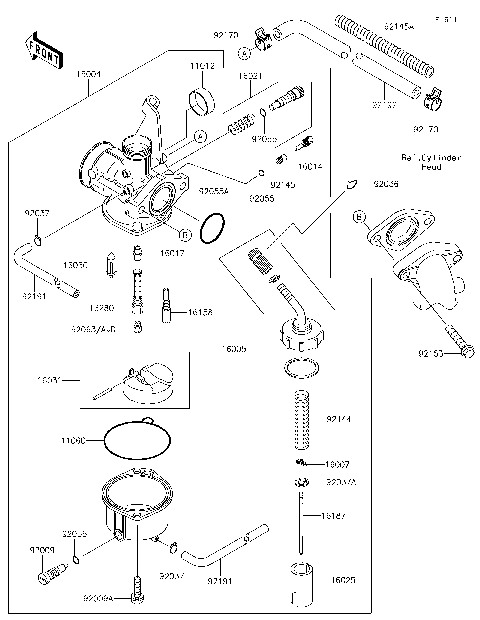
Carburetor
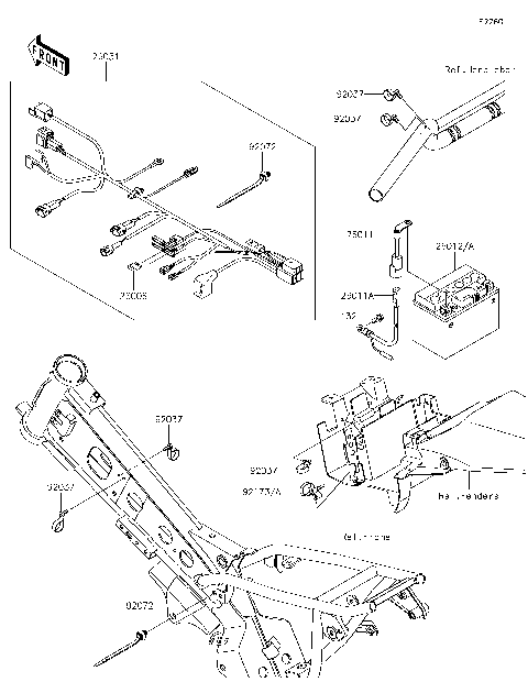
Chassis Electrical Equipment
Clutch
Crankcase
Crankshaft
Cylinder Head
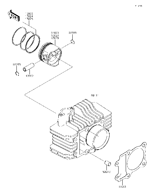
Cylinder/Piston(s)
Decals(DJF)
Engine Cover(s)
Engine Mount
Fenders
Footrests
Frame
Front Fork
Front Hub
Fuel Tank
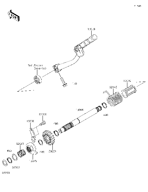
Gear Change Drum/Shift Fork(s)
Gear Change Mechanism
Generator
Guard(s)
Handlebar
Ignition System
Kickstarter Mechanism
Labels
Muffler(s)
Oil Pump
Owner's Tools
Rear Hub
Reflectors(CN)
Side Covers/Chain Cover
Stand(s)
Starter Motor
Suspension/Shock Absorber
Swingarm
Transmission
Valve(s)
Wheels/Tires
Accessory
Air Cleaner
Brake Pedal
Cables
Camshaft(s)/Tensioner
Carburetor
Chassis Electrical Equipment
Clutch
Crankcase
Crankshaft
Cylinder Head
Cylinder/Piston(s)
Decals(DJF)
Engine Cover(s)
Engine Mount
Fenders
Footrests
Frame
Front Fork
Front Hub
Fuel Tank
Gear Change Drum/Shift Fork(s)
Gear Change Mechanism
Generator
Guard(s)
Handlebar
Ignition System
Kickstarter Mechanism
Labels
Muffler(s)
Oil Pump
Owner's Tools
Rear Hub
Reflectors(CN)
Side Covers/Chain Cover
Stand(s)
Starter Motor
Suspension/Shock Absorber
Swingarm
Transmission
Valve(s)
Wheels/Tires
VIEW WISH LIST