Columbia, SC
|
Give Us a Call
(803) 750-7050
|
EST. 1976
|
Toggle navigation
Home
Brands
Manufacturer Models
OEM Promotions
Can-Am
Sea-Doo
CFMoto
SSR Motorsports
Yamaha
Kawasaki
Suzuki
Inventory
All Inventory In Stock
New Inventory In Stock
Pre-Owned Inventory
SxS
ATVs
PTVs
Motorcycles
3-Wheel
Personal Watercraft
Scooters
Pontoons
Value Your Trade-In
Request a Model
Secure Financing
Featured Specials
Parts
Parts Department
Parts Finder
Service
Service Department
Warranty & Recall Look-Up
Shop
Parts Finder
Shopping Cart
Financing
About
Our Dealership
Employment
Reviews
Customer Survey
Location & Hours
Contact
Fiche | Parts Diagrams
Home
›
Parts
›
Parts Finder
Search by :
Part / Desc
VIN
Please Select
Can-Am
CFMOTO
Kawasaki
Sea-Doo
Suzuki
Yamaha
*Please enter at least 3 characters
SEARCH
Manufacturer
Suzuki
ATVs
2008
LT A400F
VIEW WISH LIST
Select a Section
Show/Hide
AIR CLEANER
BATTERY
BELT COOLING DUCT
CAM CHAIN
CAMSHAFT/VALVE
CARBURETOR
CARRIER
COOLING FAN
CRANK BALANCER
CRANKCASE
CRANKCASE COVER
CRANKSHAFT
CYLINDER
CYLINDER HEAD
ELECTRICAL
FINAL BEVEL GEAR (FRONT)
FINAL BEVEL GEAR (REAR)
FOOTREST
FOOTREST MUDGUARD
FRAME
FRONT BRAKE HOSE
FRONT CALIPER
FRONT DRIVE SHAFT
FRONT FENDER
FRONT LAMP HOUSING
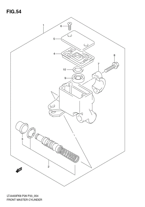
FRONT MASTER CYLINDER
FRONT WHEEL
FUEL TANK
GASKET SET
GEAR SHIFTING
HANDLE LEVER
HANDLEBAR
HEADLAMP
LABEL
LEFT REAR WHEEL
MAGNETO
MUFFLER
OIL COOLER
OIL PUMP
OPTIONAL
REAR BRAKE
REAR COMBINATION LAMP
REAR FENDER
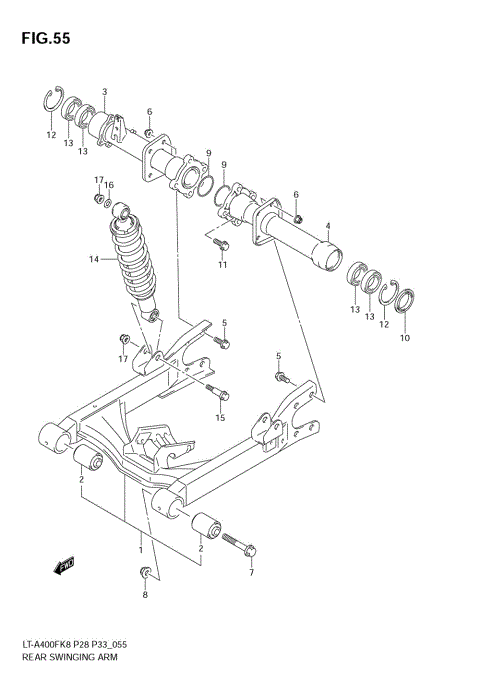
REAR SWINGINGARM
RECOIL STARTER
RIGHT REAR WHEEL
SEAT
SECONDARY DRIVE
SHIFT LEVER
SPEEDOMETER
STARTER CLUTCH
STARTING MOTOR
STEERING KNUCKLE
STEERING SHAFT
SUSPENSION ARM
TRANSMISSION (1)
TRANSMISSION (2)
WIRING HARNESS
AIR CLEANER
BATTERY
BELT COOLING DUCT
CAM CHAIN
CAMSHAFT/VALVE
CARBURETOR
CARRIER
COOLING FAN
CRANK BALANCER
CRANKCASE
CRANKCASE COVER
CRANKSHAFT
CYLINDER
CYLINDER HEAD
ELECTRICAL
FINAL BEVEL GEAR (FRONT)
FINAL BEVEL GEAR (REAR)
FOOTREST
FOOTREST MUDGUARD
FRAME
FRONT BRAKE HOSE
FRONT CALIPER
FRONT DRIVE SHAFT
FRONT FENDER
FRONT LAMP HOUSING
FRONT MASTER CYLINDER
FRONT WHEEL
FUEL TANK
GASKET SET
GEAR SHIFTING
HANDLE LEVER
HANDLEBAR
HEADLAMP
LABEL
LEFT REAR WHEEL
MAGNETO
MUFFLER
OIL COOLER
OIL PUMP
OPTIONAL
REAR BRAKE
REAR COMBINATION LAMP
REAR FENDER
REAR SWINGINGARM
RECOIL STARTER
RIGHT REAR WHEEL
SEAT
SECONDARY DRIVE
SHIFT LEVER
SPEEDOMETER
STARTER CLUTCH
STARTING MOTOR
STEERING KNUCKLE
STEERING SHAFT
SUSPENSION ARM
TRANSMISSION (1)
TRANSMISSION (2)
WIRING HARNESS
VIEW WISH LIST